首页
新的苹果潜望镜镜头专利可能适用于2023年的iPhone系列
返回

新的苹果潜望镜镜头专利可能适用于2023年的iPhone系列

2022-12-18 科技信息 By:佚名
最佳答案自去年以来,分析师一直声称苹果将在未来的 iPhone 系列中添加潜望镜摄像头。早在 3 月份,人们就认为我们可能要到 2023 年才能看到任何配备它的 iPhone 。无论如何,苹果潜望镜相机的新专利已经被发现。根据Patently Apple 的说法,这家库比蒂诺公司刚刚获得了欧洲专利商标局的“折叠相机&rdq...

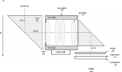
自去年以来,分析师一直声称苹果将在未来的 iPhone 系列中添加潜望镜摄像头。早在 3 月份,人们就认为我们可能要到 2023 年才能看到任何配备它的 iPhone 。无论如何,苹果潜望镜相机的新专利已经被发现。

根据Patently Apple 的说法,这家库比蒂诺公司刚刚获得了欧洲专利商标局的“折叠相机”专利。它提到在移动设备中使用多镜头系统“以低 F 值捕获高分辨率、高质量的图像”。顺便说一下,这里的 F 可能指的是镜头的光圈。基本上,它描述的是潜望镜相机模块。

此前有传言称,苹果将为 2023 款 iPhone 系列配备潜望式摄像头。但该公司可能不会将其仅限于 iPhone,因为该专利还提到了“平板电脑和平板设备”。这可能意味着 Apple 正在考虑将其添加到 iPad 中,尽管它不是最实用的实现方式。

猜你喜欢
人无远虑必有近忧的意思和启示(人无远虑必有近忧的意思)

人无远虑必有近忧的意思和启示(人无远虑必有近忧的意思)

12-18 0 阅读
微淼教育(wmv电影)

微淼教育(wmv电影)

12-19 0 阅读
蕴含玄机的奥梅克雕像(关于蕴含玄机的奥梅克雕像的介绍)

蕴含玄机的奥梅克雕像(关于蕴含玄机的奥梅克雕像的介绍)

12-19 0 阅读
怎样安装打印机驱动程序(怎样安装打印机)

怎样安装打印机驱动程序(怎样安装打印机)

12-11 0 阅读
5s升级ios14卡不卡(5s升级ios8)

5s升级ios14卡不卡(5s升级ios8)

12-18 0 阅读
手上起好多小疙瘩不疼不痒怎么回事(手上有小疙瘩不疼不痒什么原因)

手上起好多小疙瘩不疼不痒怎么回事(手上有小疙瘩不疼不痒什么原因)

12-19 0 阅读
热门推荐
人无远虑必有近忧的意思和启示(人无远虑必有近忧的意思)

人无远虑必有近忧的意思和启示(人无远虑必有近忧的意思)

12-18 0 阅读
微淼教育(wmv电影)

微淼教育(wmv电影)

12-19 0 阅读
蕴含玄机的奥梅克雕像(关于蕴含玄机的奥梅克雕像的介绍)

蕴含玄机的奥梅克雕像(关于蕴含玄机的奥梅克雕像的介绍)

12-19 0 阅读
怎样安装打印机驱动程序(怎样安装打印机)

怎样安装打印机驱动程序(怎样安装打印机)

12-11 0 阅读
5s升级ios14卡不卡(5s升级ios8)

5s升级ios14卡不卡(5s升级ios8)

12-18 0 阅读
手上起好多小疙瘩不疼不痒怎么回事(手上有小疙瘩不疼不痒什么原因)

手上起好多小疙瘩不疼不痒怎么回事(手上有小疙瘩不疼不痒什么原因)

12-19 0 阅读
青岛方特梦幻王国周边酒店(青岛方特梦幻王国附近酒店)

青岛方特梦幻王国周边酒店(青岛方特梦幻王国附近酒店)

12-19 0 阅读
魔影肤立白(关于魔影肤立白的介绍)

魔影肤立白(关于魔影肤立白的介绍)

12-19 0 阅读
电脑保护眼睛设置哪里找(电脑保护眼睛设置)

电脑保护眼睛设置哪里找(电脑保护眼睛设置)

12-18 0 阅读
最好用的监控软件有哪些(最好用的监控软件是哪个)

最好用的监控软件有哪些(最好用的监控软件是哪个)

12-19 0 阅读